
VA型手扳葫蘆

產品介紹
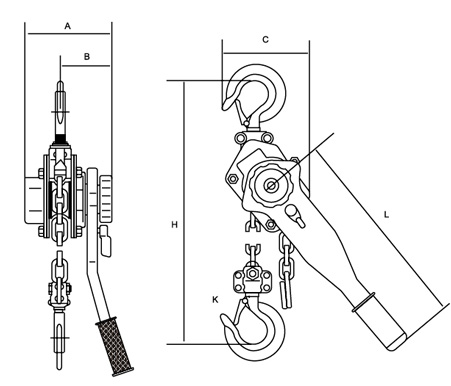
VA型手扳葫蘆

| 型號Model | 0.75Ton | 1.5Ton | 3Ton | 6Ton | |
| 起重量 噸 t | 0.75 | 1.5 | 3 | 6 | |
| 起重高度 米m | 1.5 | 1.5 | 1.5 | 1.5 | |
| 試驗載荷 噸 t | 9.2 | 18.4 | 36.8 | 73.5 | |
| 手扳力 N | 148 | 216 | 336 | 345 | |
| 起重鏈直徑 毫米 mm | 6.3 | 7.1 | 9 | 9 | |
| 凈重 公斤 kg | 6.6 | 11.65 | 21.1 | 23.7 | |
| 主要尺寸 毫米 mm |
A | 155 | 170 | 198 | 198 |
| B | 128 | 147 | 182 | 230 | |
| C | 310 | 350 | 470 | 590 | |
| D | 240 | 365 | 365 | 365 | |
| G | 28 | 36 | 47 | 49 | |
* 產品嚴格按國家3包執行,質量由中國人壽財產保險股份有限公司承保,請放心使用。




